变压器故障可分为内部故障与外部故障。
变压器内部故障指变压器油箱内发生的故障,具体包括各绕组的相间短路、绕组的匝间短路、绕组与铁芯间的短路故障、单相绕组或引出线通过外壳发生的单相接地故障、绕组断线故障等。
变压器外部故障指变压器油箱外部绝缘套管及其引出线上发生的各种故障,具体包括绝缘套管闪络或破碎而造成的单相接地短路、引出线之间相间短路等。
此外,变压器有若干种不正常工作状态,主要包括油面降低、油温或压力过高、变压器中性点电压升高、过负荷、过电流、过励磁等。
为监测不同的故障或不正常工作状态,我们设置了不同保护,这其中又分为主保护与后备保护,主保护具有速动特性。 
以上瓦斯保护属非电量保护的一种,非电量保护还包括本体与有载调压装置的油温保护、压力释放保护、风冷保护、过载闭锁带负荷调压保护。
Part 2:纵差保护
纵差保护是变压器主保护之一,保护瞬时动作,跳开各侧开关。其保护区域是构成差动保护各侧电流互感器之间的部分,包括了变压器本体、电流互感器与变压器之间的引出线。2017年某220kV变电站2号主变35kV侧避雷器发生AB相闪络,避雷器底架被放电击穿;因为35kV避雷器位于主变低压侧流变与主变之间,故处于纵差保护范围内,两套主变保护均正确动作,隔离了故障。
01纵差保护的基本逻辑
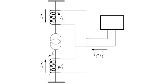
现有变压器纵差保护均采用微机保护装置,各相电流分别进入保护装置,由软件算法实现纵差保护。我们以一相为例,说明纵差保护的基本原理。
保护装置“感受”到的差流为两个线圈二次电流矢量和。
如图1所示,当系统正常运行或外部短路时,两个线圈二次电流大小相同极性相反,差流为0,此时保护不动作。
如图2所示,当保护范围内发生接地故障时,二次电流大小相等极性相同,差流为二次电流大小之和,当达到差动启动值时保护动作。 
图1 变压器正常运行/外部短路差流示意图 
图2 变压器区内短路差流示意图
纵差保护在以上流变二次线圈接入方式的基础上增加对不同侧电流矢量进行相位调整、零序电流消除、幅值转换,形成差动电流计算方法,再引入比率制动特性曲线,构成保护的基本逻辑。
以YN-d11接线为例,接线图与电流相量图如图3所示。可见,因高低侧同相相量有30°角度差,故正常运行时两电流矢量和不为0,需先相位转换,转换后同一相高低侧两相量同相位。 
图3 YN-d11接线示意图及电流相量图
相位转换有两种方法,一种以Y侧为基准,使d侧电流相位与Y侧电流相位一致,简称为“角转星”,最常见的角转星保护有南瑞继保RCS-978等,其转换公式为: 
另一种以d侧为基准,使Y侧电流相位与d侧一致,简称“星转角”,现有绝大多数保护装置采用星转角方式,其转换公式为: 
零序电流消除的目的是防止纵差保护误动。对于YN-d接线,当高压侧区外发生接地故障时,高压Y侧有零序电流流过,而低压d侧无零序电流,两侧零序电流不能平衡,故纵差保护会误动。“星转角”转换方式下,Y侧移相后两电流之差已滤去零流,故无需采取措施。“角转星”转换方式下,对Y侧电流向量进行零序电流补偿,补偿公式为: 
由于变压器变比、各侧流变变比的不同,正常运行或外部故障时变压器各侧差动电流二次幅值不能相同。此时需要进行幅值转换,把一侧电流值作为基准,根据两侧电压和流变变比计算另一侧平衡系数,将另一侧电流乘以该平衡系数,从而使装置内部计算得到的差流为0。
为进一步提高内部故障时的动作灵敏度、可靠躲过外部故障的不平衡电流,纵差保护采用具有比率制动特性曲线的差动元件。比率制动曲线纵轴为差流,横轴为制动电流,曲线上方是动作区,下方是制动区。现有特性曲线主要分两段折线式与三段折线式两类。
两段折线式比率制动曲线如图4左图所示,曲线可以是通过原点的ABC型,也可以是不通过原点的ABD型。大部分装置为ABC型。 
图4 两段折线式比率制动曲线
三段折线式比率制动曲线如图4右图所示,这其中又可细分为2类,一类AB段为水平线,另一类AB段为斜线。AB段为水平线的设备有国电南自PST-1200U、ABB的RET-316、许继WBH-801和SEL-387,AB段为斜线的设备有四方CSC-326、深瑞PRS-778和南瑞RCS-978。
02纵差保护如何校验
纵差保护保护校验按照比率制动特性曲线进行,曲线上方保护动作,曲线下方保护不动作:
1)选点。纵差保护校验选取3-5个点,第一个点选在图4纵轴上,验证最小动作电流Iop.min;第二、三个点选在拐点上,验证拐点电流Ires;此外,在每段斜线上选取一个点,验证斜率。
2)计算数值。计算变压器各侧启动值电流、平衡系数,通平衡;再根据装置的比率制动曲线计算每个校验点各侧电流大小与相位角。
3)验证曲线。应用固定变量法,固定校验点中一个电流,改变另一个电流大小,从而将校验点上下移动至动作区与制动区,验证保护装置是否正确动作。
03纵差保护的附属元件
为了使纵差保护更加可靠,保护逻辑还涉及启动、速断、闭锁等元件:
1) 启动元件:启动变量有三相差动电流最大值、电流突变量等,当启动变量大于任一启动值时保护装置开放差动保护。
2)差动速断元件:在较高短路电流水平时,由于电流互感器饱和,二次谐波产生极大的制动力矩使差动元件拒动。
为避免保护拒动,装置内设差动速动元件,当短路电流达到4~10倍额定电流时,速断元件快速动作出口。
此外,为防止大短路电流时因各侧电流互感器的暂态特性不一致导致保护不正确动作,包括变压器等主设备差动保护各侧电流互感器的相关特性宜一致(十八项反措15.1.10)。
某变电站2号主变高压侧接入2/3接线第二串中,该串另接入一条联络线;2017年该串中开关B相发生单相接地故障,主变本体两套差动保护速断元件动作切除主变各侧开关;联络线两侧分相电流差动保护动作切除对应边开关B相,之后单相重合闸成功。
3)励磁涌流闭锁元件:在空投变压器和变压器区外短路切除时会产生巨大的励磁涌流,为防止励磁涌流造成的差流使装置误动,纵差保护设置了涌流闭锁元件,利用波形畸变(差流波形间断或不对称)、谐波分量鉴别(二次或三次谐波的含量)、模糊识别鉴别励磁涌流。但,实际空投变压器时,特别是第一次空投时,因本体消磁不充分,空投差流的谐波含量或低于谐波分量闭锁门槛,差动保护仍会误动。
为了从根本消除剩磁对变压空充的影响,我们可以采取消磁措施,再进行一次空充,也可临时降低二次谐波闭锁门槛值保证主变正常投运。
4)CT断线元件:CT二次一相断线时,差流就是断线相负荷电流,保护可能误动。此时,可采用零序电流、相电流变化情况、相电压异常突降等来判断CT断线。
5)CT饱和闭锁元件:区外故障时CT饱和会造成差动保护误动,所以保护装置配置CT饱和闭锁检测元件。
因CT饱和时,差流时在CT饱和一段时间后产生,所以装置利用制动电流与差动电流的时序一致性判别CT是否饱和。
此外,为了尽可能减小CT饱和对变压器纵差保护的影响,变压器差动保护各支路电流互感器应优先选用准确限值系数(ALF)和额定拐点电压较高的电流互感器(十八项反措15.1.12)。
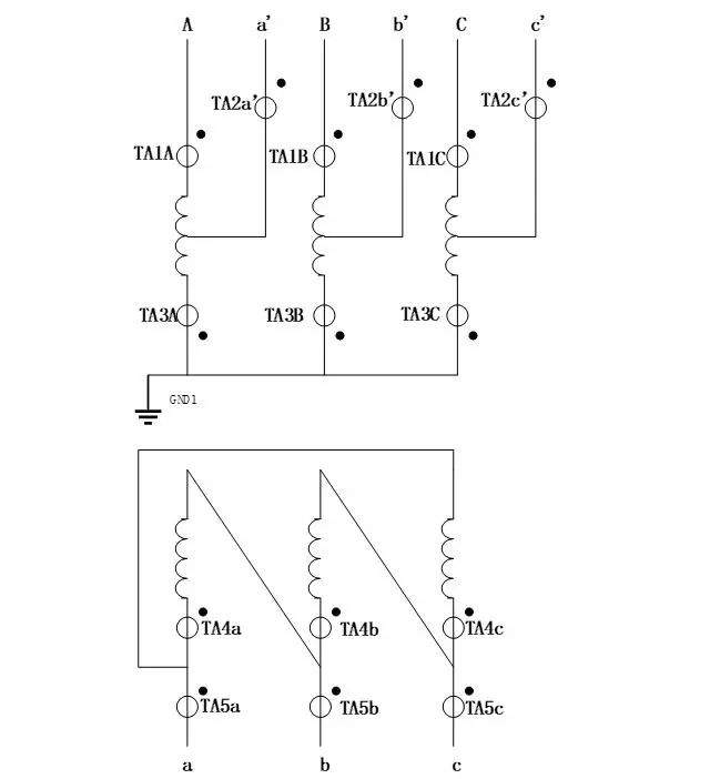
Part 3:其他差动保护介绍 1.分侧差动保护
分侧差动保护是将变压器Y侧绕组作为被保护对象,由各侧绕组的首末端CT按相构成的差动保护。
以图5自耦变A相为例,由TA1A、TA2a'和TA3A构成该保护。
根据基尔霍夫电流定律,两端电流没有电磁耦合关系,所以保护无需涌流闭锁元件、差动速动元件和过励磁闭锁元件。
此外,分侧差动保护动作电流的定值较低,比纵差保护灵敏度高。但此保护的缺点是不能保护匝间短路。 
图5 自耦变接线示意图
2.分相差动保护
分相差动保护是将变压器的各相绕组分别作为被保护对象,由每相绕组的各侧CT构成的差动保护,如图5中TA1B、TA2b'和TA4b构成B相差动保护(以B相为例)。
该保护能反映变压器某一相除低压侧引线以外的全部故障,但需涌流闭锁元件。
3.低压侧小区差动保护
由于分相差动保护对低压侧引线部分无保护范围,因此引入小区差动作为分相差动的补充。
低压侧小区差动保护是由低压侧三角形两相绕组内部CT和反映两相绕组差电流的CT构成的差动保护,如图5中TA4b、TA4c和TA5c构成(以C相为例),无需涌流闭锁元件,但不反应匝间故障。
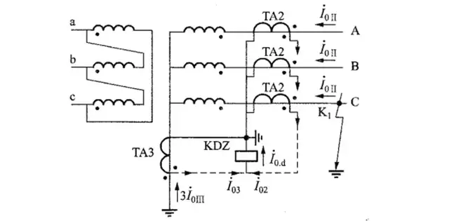
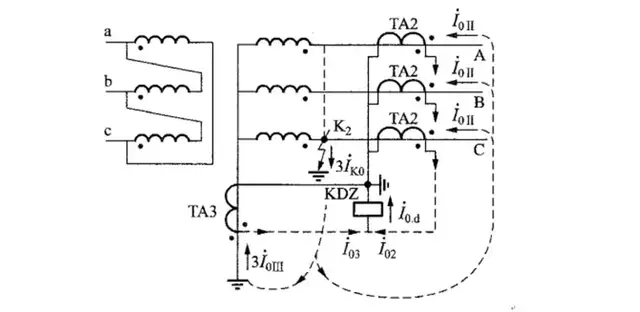
4.零序差动保护
零序差动保护,由变压器中性点侧零序电流互感器和变压器星形侧电流互感器的零序回路构成。
图6、图7分别为区外和区内发生接地故障时的电流回路。
同样,该保护各二次电流没有电磁耦合关系,所以保护装置无需励磁涌流闭锁元件或过励磁闭锁元件;同时对变压器绕组接地故障反应较灵敏。
然而零序差动保护只能反映高中压侧内部接地故障,且不能保护匝间短路。 
图6 区外接地故障零序差动保护电流示意图 
图7 区内接地故障零序差动保护电流示意图
|