
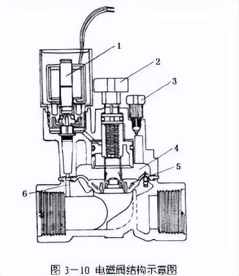
电磁阀的工作原理,电磁阀里有密闭的腔,在的不同位置开有通孔,每个孔都通向不同的油管,腔中间是阀,两面是两块电磁铁,哪面的磁铁线圈通电阀体就会被吸引到哪边,通过控制阀体的移动来档住或漏出不同的排油的孔,而进油孔是常开的,液压油就会进入不同的排油管,然后通过油的压力来推动油刚的活塞,活塞又带动活塞杆,活塞竿带动机械装置动。这样通过控制电磁铁的电流就控制了机械运动。
电磁阀按原理分类 国内外的电磁阀从原理上分为三大类(即:直动式、分步直动式、先导式),而从阀瓣结构和材料上的不同与原理上的区别又分为六个分支小类(直动膜片结构、分步重片结构、先导膜式结构、直动活塞结构、分步直动活塞结构、先导活塞结构) 从原理上分: 直动式电磁阀:5 h5 j9E) g7 W0 s原理:通电时,电磁线圈产生电磁力把关闭件从阀座上提起,阀门打开;断电时,电磁力消失,弹簧把关闭件压在阀座上,阀门关闭。特点:在真空、负压、零压时能正常工作,但通径一般不超过25mm。 
先导式电磁阀:8 C3 w$p! O5 a/ _原理:通电时,电磁力把先导孔打开,上腔室压力迅速下降,在关闭件周围形成上低下高的压差,流体压力推动关闭件向上移动,阀门打开;断电时,弹簧力把先导孔关闭,入口压力通过旁通孔迅速腔室在关阀件周围形成下低上高的压差,流体压力推动关闭件向下移动,关闭阀门。 
分步直动式电磁阀 原理:它是一种直动和先导式相结合的原理,当入口与出口没有压差时,通电后,电磁力直接把先导小阀和主阀关闭件依次向上提起,阀门打开。当入口与出口达到启动压差时,通电后,电磁力先导小阀,主阀下腔压力上升,上腔压力下降,从而利用压差把主阀向上推开;断电时,先导阀利用弹簧力或介质压力推动关闭件,向下移动,使阀门关闭。 电磁阀按气路分类 按照气路数分为2位2通,2位3通,2位4通,2位5通。 电磁阀分为单电控和双电控,指的是电磁线圈的个数,单线圈的称为单电控,双线圈的称为双电控,2位2通,2位3通一般时是单电控(单线圈),2位4通,2位5通可以是单电控(单线圈),也可以是双电控(双线圈)。 两位两通:当线圈带电时,活塞向右移动,AP通,流体流过。断电时AP不通,流体不能流过。 
两位三通:当线圈带电时,活塞移动,BP通,AP不通,流体流过BP。断电时AP通,BP不通,流体流过AP。 
两位四通电磁阀: 在气动或液动系统中,利用活塞产生足够的位移。为了控制活塞的运动方向,启动和停止,常用到多通电磁阀,最典型的是四通电磁阀。 当线圈无电流时,弹簧将铁心向左推出线圈,如图所示,用带有颜色的箭头表示高压油从孔P流入,经过孔B进入油缸右腔,推动活塞向左运动,左腔的油经过A送往O排出。线圈通电后,滑阀移动,高压油自P送往A,压力作用在活塞的左边,使活塞向右运动,右腔的油经过B和O排出。 
三位三通阀 左线圈通电时A、P通A、O闭,右线圈通电时A、O通,A、P闭,都断电时A、P和A、O都闭。 
三位四通电磁阀: 左线圈通电时A、P通B、O通,右线圈通电时A、O通,B、P通,都断电时A、P和B、O都闭。 
|