找回密码
 立即注册

QQ登录

只需一步,快速开始

工控课堂 首页 工控文库变频器学习

变频器学习

变频器常见问题处理流程
变频器常见问题处理流程有哪些,今天小编给大家来讲讲。故障解决的主要流程第一步:先按警报消除按键,将警报音关掉;第二步:查看页面提醒;第三步:观查高压线路是不是断掉;第四步:确定高压断掉;第五步:依据页 ...
2021-11-28 20:18
避免变频器受负载冲击必须做好以下几点
为了保障变频器的安全运行,避免变频器受负载冲击,必须做好以下几点:1、尽量保证变频器有充足的加减速时间变频器在开机或升速时,自身有软起动功能;关机或减速时,自身有软关断功能。在设备允许的范围内,尽量增加 ...
2021-11-15 21:37
变频器什么时候需要制动电阻
变频器带动的电机在停机时,拖动的电机由于惯性作用不能及时停止转动,此时电机就相当于一个发电机,而发电机产生的电能会施加到变频器内部的模块上,将对变频器的模块造成损伤或者损毁,制动电阻就是用来消耗这部分 ...
2021-11-15 21:35
变频器的几个实用技巧
变频器的几个实用技巧
1.什么是直流制动?意义如何?怎样设置相关参数?向电动机定子绕组通入直流电流,使电动机处于稳定停机状态,称作直流制动。分起动前的直流制动和停机时的直流制动两种应用。例如,鼓风机之类的负载,即使停机不通电 ...
2021-11-15 21:35
变频器加速时间与减速时间的参数设定
1.什么是加速时间?设置加速时间这个参数时应考虑那些因素?加速时间是变频器的工作频率从0Hz上升到基本频率(50Hz)所需的时间。这一规定同时适用于加速终止频率为任意值的情况。例如,多段速运行中,某一转速档次 ...
2021-11-15 21:34
变频器加速时间、减速时间、起动直流制动时间、停机直流制动时间 ...
变频器加速时间、减速时间、起动直流制动时间、停机直流制动时间
2021-11-15 21:33
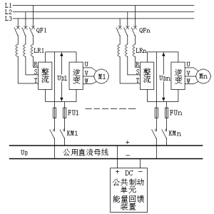
变频器外部主电路与公用直流母线解析
变频器外部主电路与公用直流母线解析
一、外接主电路结构变频器的外接主电路如图1所示。三相交流电源经断路器QF、交流接触器KM与变频器的电源输入端R、S、T连接;变频器的输出端U、V、W则与电动机直接相连,这时电动机的保护由变频器完成。这里的断路器 ...
2021-11-10 20:24
最全的变频器基本参数的调试
最全的变频器基本参数的调试
变频器功能参数很多,一般都有数十甚至上百个参数供用户选择。实际应用中,没必要对每一参数都进行设置和调试,多数只要采用出厂设定值即可。但有些参数由于和实际使用情况有很大关系,且有的还相互关联,因此要根据 ...
2021-11-7 10:55
高压变频器远距离传输上方案
1、引言在变频器和电动机之间采用长电缆传输时,会产生电压反射现象,导致在电机端产生过电压影响电机绝缘,同时在变频器端产生较大电流尖峰导致设备不能正常工作。从变频器和电缆模型分析,影响长电缆设备的因素, ...
2021-11-6 14:42
变频器维修保养的步骤和方法
变频器是现在工业自动化,机械自动化和科技发展中应用很广泛的电路设备,在相同的控制要求下,相同设备在变频运行时不仅能轻易达到一般工频运行的效果,而且控制的过程更加的多样化和智能化,毫无疑问,更加的高效, ...
2021-11-6 14:41
带有自动制动功能的变频器电动机控制电路
带有自动制动功能的变频器电动机控制电路电路如下图所示:(1)外部制动电阻连接端子一般小功率(7.5KW以下)变频器内置制动电阻,且连接与P(+)、DB端子上,如果内置制动电流容量不足或要提高制动力矩,则可外接制 ...
2021-11-6 14:37
变频器带动电机运行时产生抖动怎么处理?
变频器带动电机运行时产生抖动怎么处理?
用变频器的电机为什么发抖?变频器带动电机运行时产生抖动怎么处理?一、用变频器的电机为什么发抖1、编码器信号检测不准,或者信号线接触不好。检查一下编码器本身,然后检查一下信号线的连接情况。2、电机发生共震 ...
2021-11-6 14:35
改善变频器运行温度的措施
变频器长时间不问断运行后,内部产生的高温 增刊1 煤质技术 2015年8月 对变频器运行存在严重隐患,夏季尤为突出。变频器内部逆变器极限运行温度一般为125℃,变频器逆变器模块、IGBT温度有时可达110 ℃ ,对变频器运 ...
2021-11-6 14:33
抑制和消除变频器受到外界干扰的方法
抑制和消除变频器受到外界干扰的方法
2021-11-6 14:33
最标准的电机正反转电路 电机顺序启动,逆序停止
最标准的电机正反转电路 电机顺序启动,逆序停止
电机正反转电路 电机顺序启动,逆序停止
2021-11-6 14:31
热门文章
关闭

站长推荐上一条 /1 下一条

QQ|手机版|免责声明|本站介绍|工控课堂 ( 沪ICP备20008691号-1 )

GMT+8, 2025-12-21 19:36 , Processed in 0.047453 second(s), 14 queries .

Powered by Discuz! X3.5

© 2001-2025 Discuz! Team.

返回顶部