工控课堂

 找回密码
 立即注册

QQ登录

只需一步,快速开始

扫一扫,访问微社区

工控课堂 首页 工控文库 PLC 查看内容

三菱PLC交通信号灯设计图解

2019-2-2 20:47| 发布者: gk-auto| 查看: 48| 评论: 23|原作者: gk-auto

摘要: 一、 可编程控制器系统设计的步骤和内容案例:交通信号灯的自动控制系统设计1、信号转换关系 2、交通等演示图 3、分析工况,思考问题:1.该控制系统是否属于顺序控制?是哪种结构?2.该控制系统工作步如何划分?共 ...
一、 可编程控制器系统设计的步骤和内容
案例:交通信号灯的自动控制系统设计
1、信号转换关系

2、交通等演示图

3、分析工况,思考问题:
1.该控制系统是否属于顺序控制?是哪种结构?
2.该控制系统工作步如何划分?共有多少工作步?
3.输入/输出信号有那些?
4、plc的I/O分配

5、PLC硬件设计

6、PLC顺序功能图设计

7、PLC梯形图程序设计

8、综述PLC系统设计的步骤
1)熟悉控制对象的工艺要求(工况分析)
2)电器控制线路的设计
3)程序设计
4)控制系统模拟调试
5)现场调试
6)技术文件整理
二、 可编程控制器的选型与硬件配置
(一)选择合适的可编程控制器类型
1、可编程控制器选择
三菱FX1S系列可编程控制器是一种卡片大小的PLC,适合在小型环境中进行控制。它具有卓越的性能、串行通讯功能以及紧凑的尺寸,这使得它们能用在以前常规可编程控制器无法安装的地方。
三菱FX1N系列可编程控制器是一种普遍选择方案,最多可达128点控制。由于FX1N系列具有对于输入/输出、逻辑控制以及通讯/链接功能的可扩展性,因此它对普遍的顺控解决方案有广泛的适用范围,并且能增加特殊功能模块或扩展板。
三菱FX2N系列可编程控制器是FX系列中最高级的模块。它拥有无以匹及的速度、高级的功能、逻辑选件以及定位控制等特点,FX2N是从16到256路输入/输出的多种应用的选择方案。
三菱FX2NC系列可编程控制器在保留其原有的强大功能特色的前提下实现了极为可观的规模缩小,I/O型连接口降低了接线成本并节省了时间。
对于开关量控制的系统,当控制速度要求不高时,一般的小型整体机FX1S就可以满足要求。对于以开关量控制为主,带有部分模拟量控制的应用系统,应选择具有所需功能的可编程控制器主机,如用FX1N或FX2N型整体机。另外还要根据需要选择相应的模块,例如开关量的输入/输出模块、模拟量输入/输出模块、配接相应的传感器及变送器和驱动装置等。
2、I/O点数的确定
一般的讲,可编程控制器控制系统的规模的大小是用输入、输出的点数来衡量的。我们在设计系统时,应准确统计被控对象的输入信号和输出信号的总点数并考虑今后调整和工艺改进的需要,在实际统计I/O点数基础上,一般应加上10%一20%的备用量。
对于整体式的基本单元,输入输出点数是固定的,不过三菱的FX系列不同型号输入/输出点数的比例也不同,根据输入/输出点数的比例情况,可以选用输入/输出点都有的扩展单元或模块,也可以选用只有输入(输出)点的扩展单元或模块。
3、用户存储器容量的估算
根据经验,对于开关量控制系统,用户程序所需存储器的容量等于I/O信号总数乘以8。对于有模拟量输人输出的系统,每一路模拟量信号大约需100存储器容量。如果使用通信接口,那么每个接口需300存储器容量。一般估算时根据算出存储器的总字数再加上一个备用量。
4、可编程控制器的处理速度应满足实时控制的要求
可编程控制器是采用顺序扫描的工作方式,其顺序扫描工作方式使它不能可靠地接收持久时间小于1个扫描周期的输入信号。为此,对于快速反映的信号需要选取扫描速度高的机型
关于可编程控制器的选型问题,当然还应考虑到它的的联网通信功能、价格等因素。系统可靠性也是考虑的重要因素。
(二)开关量输入输出模块及扩展的选择
开关量输入模块的输入电压一般为DC24V和AC220V两种。直流输入可以直接与接近开关、光电开关等电子输入装置连接,三菱FX系列直流输入模块的公用端已经接在内部电源的0V,因此直流输入不需要外接直流电源,有些类型的可编程控制器输入的公用端要另接电源,对初学者应该注意。交流输入方式的触点接触可靠,适合于在有油雾、粉尘的恶劣环境下使用。我们最常用的还是直流输入模块。
开关量输出模块有继电器输出、晶体管输出及可控硅输出。继电器型输出模块的触点工作电压范围广,导通压降小,承受瞬时过电压和过电流的能力较强,但是动作速度较慢,寿命(动作次数)有一定的限制。一般控制系统的输出信号变化不是很频繁,我们优先选用继电器型,并且继电器输出型价格最低,也容易购买。晶体管型与双向可控硅型输出模块分别用于直流负载和交流负载,它们的可靠性高,反应速度快,寿命长,但是过载能力稍差。选择时应考虑负载电压的种类和大小、系统对延迟时间的要求、负载状态变化是否频繁等,还应注意同一输出模块对电阻性负载、电感性负载和白炽灯的驱动能力的差异。
(三)编程器和外围设备的选择
早期的小型可编程控制系统,通常都选用价格便宜的简易编程器。如果系统较大,可编程控制器多,可以选用一台功能强、编程方便的图形编程器;随着科技的发展,个人计算机的使用越来越普及,编程软件包的出现,在个人计算机上安装的编程软件包配上通信电缆,也可取代原编程器。
三、 节省I/O点数的方法
减少所需输入点数的方法
减少所需输出点数的方法
(一)减少所需输入点数的方法
1、分组输入
多设备都有自动控制和手动控制两种状态,自动程序和手动程序不会同时执行,把自动和手动信号叠加起来,按不同控制状态要求分组输入到可编程控制器,可以节省输入点数。例如:电梯轿箱内的操纵箱内一般都设有检修运行的手动上、下按钮,也有自动运行的选层按钮,现在很多电梯在设计时就是利用最底层选层按钮和最顶层的选层按钮取代检修手动上、下按钮,这样不仅节省了输入点,同时还减少了两个按钮,进一步降低了成本。

2、触点合并式输入
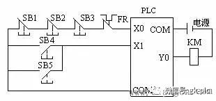
修改外部电路,将某些具有相同功能的输入触点串联或并联后再输入可编程序控制器,这些信号就只占用一个输入点了。串联时,几个开关同时闭合有效。并联时,其中任何一个触点闭合都有效。例如一般设备控制时都有很多保护开关,任何一个开关动作都要设备停止运行,这样在设计时就可以将这些开关串联在一起,用一个输入点。对同一台设备的多点控制一般将多点的控制按钮并联在一起,用一点输入,如图。


3、矩阵式输入
当可编程控制器有两个以上富余的输出端点时,可将二极管开关矩阵的行、列引线分别接到I/O端点上。这样,当矩阵为n行m列时,可以得到nXm个输入信号供可编程控制器组成的控制系统使用。对于FX2N系列,使用矩阵输入指令MTR,只用8个输入点和8个输出点,就可以输入64个输入点的状态。
4、充分利用可编程控制器的内部功能
使用KEY指令,只需4个输入点,4个输出点就可以输入10个数字键和6个功能键;使用DSW指令,只需4个或8个输入点,4个输出点就可以读入一个或两个4位BCD码数字开关信息。
利用转移指令,在一个输入端上接一开关,作为自动、手动工作方式转换开关,用转移指令,可将自动和手动操作加以区别。
利用计数器计数,或利用移位寄存器移位,也可以利用交替输出指令实现单按扭的启动和停止。
(二)减少所需输出点数的方法
1.通断状态完全相同的负载并联后,可以共用PLC的一个输出点,即一个输出点带多个负载,如果多个负载的总电流超出输出点的容量,可以用一个中间继电器在控制其它负载。
2.在采用信号灯做负载时,采用数码管做指示灯可以减少输出点数。例如电梯的楼层指示,如果使用信号灯,则一层就要一个输出点,楼层越高占用输出点越多,现在很多电梯使用数字显示器显示楼层就可以节省输出点,常用的是用BCD码输出,9层站以下仅用4个输出点,10到19层仅用5个输出点。
FX2N系列7段译码指令SEGD可把十六进制数译为七段显示器所需的代码,直接控制一只七段显示器,用7个输出点;还有一些数字显示的指令,可以减少输出点的数量。


t0169d2cdec31268eec.jpg

路过

雷人

握手

鲜花

鸡蛋

相关阅读

发表评论

最新评论

270429343 2019-2-2 20:48
无回帖,不论坛,这才是人道。
差得多先森 2019-2-2 20:48
强烈支持楼主ing……
vampire1804 2019-2-2 20:54
淡定,淡定,淡定……
陈波 2019-2-2 20:54
我顶,我顶,我顶顶顶
大鹏 2019-2-2 21:00
绝对干货,楼主给力,支持了!!!
vov_lOJRw 2019-2-2 21:04
加油,加油,不要沉下去,我是最热贴
changjiang11223 2019-2-2 21:05
楼主您的技术水准,我最服你,其他都是浮云
wx_GWWCJWaG 2019-2-2 21:05
绝对干货,楼主给力,支持了!!!
wujian_hnac 2019-2-2 21:18
看了楼主的帖子,不由得精神一振,豁然开朗,牛掰
全显锋 2019-2-2 21:22
加油,加油,不要沉下去,我是最热贴
dp19980902 2019-2-2 21:32
看了楼主的帖子,不由得精神一振,豁然开朗,牛掰
AnikaHatst 2019-2-2 21:53
党的好公民,人民的好公仆。。。
z1293930859 2019-2-2 21:57
看到这帖子真是高兴!
cjs1971 2019-2-2 21:57
我只是路过打酱油的。
z1293930859 2019-2-2 22:08
谢谢您的分享!
张平 2019-2-2 22:09
老师四个微信公众号都可以关注吗?是否有免费资料下载!
huawei123 2019-2-2 22:17
看完楼主的帖子,我的心情竟是久久不能平息,受教了
电工李志强 2019-2-2 22:31
加油,加油,不要沉下去,我是最热贴
chaoing 2019-2-2 22:37
在遇到你之前我对人世间是否有技术大佬保有怀疑,现在我是彻底被你征服了

查看全部评论(23)

QQ|免责声明|本站介绍|工控课堂 ( 沪ICP备14007696号-3 )|网站地图

GMT+8, 2019-3-21 23:26 , Processed in 0.040729 second(s), 30 queries .

Powered by Discuz! X3.4

© 2001-2017 Comsenz Inc.

返回顶部